Product Summary
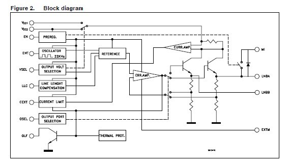
The LNBP20A is a LNB supply and control voltage regulator parallel interface. The LNBP20A is a monolithic linear voltage regulator, assembled in Multiwatt-15, PowerSO-20 and PowerSO-10, specifically designed to provide the powering voltages and the interfacing signals to the LNB downconverter situated in the antenna via the coaxial cable. Since most satellite receivers have two antenna ports, the output voltage of the LNBP20A is available at one of two logic-selectable output pins (LNBA, LNBB). When the IC of the LNBP20A is powered and put in Stand-by (EN pin LOW), both regulator outputs are disabled to allow the antenna downconverters to be supplied/controlled by others satellite receivers sharing the same coaxial lines. In this occurrence the LNBP20A will limit at 3mA (max) the backward current that could flow from LNBA and LNBB output pins to GND.
Parametrics
LNBP20A absolute maximum ratings: (1)Vi DC Input Voltage (VCC1, VCC2, MI): 28 V; (2)Io Output Current (LNBA, LNBB): Internally limited; (3)Vi Logic Input Voltage (ENT, EN, OSEL, VSEL, LLC): -0.5 to 7 V; (4)ISW Bypass Switch Current: 900 mA; (5)Ptot Power Dissipation at Tcase < 85℃ 14 W; (6)Tstg Storage Temperature Range: - 40 to 150℃; (7)Top Operating Junction Temperature Range: - 40 to 125℃.
Features
LNBP20A features: (1)Complete interface for two lnbs remote supply and control; (2)LNB selectionand stand-by function; (3)Built-intone oscillator factory trimmed at 22KHz; (4)Two supply inputs for lowest dissipation; (5)Bypassfunction for slave operation; (6)LNB short circuit protection and diagnostic; (7)Auxiliarymodulation input extends flexibility; (8)Cable length compensation; (9)Internal over temperature protection; (10)Backward current protection.
Diagrams

|  |  LNBP10 |  Other |  |  Data Sheet |  Negotiable |  | ||||||||||||
|  |  LNBP10LPUR |  STMicroelectronics |  Linear Regulators - Standard LNB SUP/CTRL VLT REG |  Data Sheet |  
 |  | ||||||||||||
|  |  LNBP10SP-TR |  STMicroelectronics |  Linear Regulators - Standard LNBP voltage reg |  Data Sheet |  
 |  | ||||||||||||
|  |  LNBP11LPUR |  STMicroelectronics |  Linear Regulators - Standard LNB SUP/CTRL VLT REG |  Data Sheet |  
 |  | ||||||||||||
|  |  LNBP11SP-TR |  STMicroelectronics |  Linear Regulators - Standard LNBP voltage reg |  Data Sheet |  Negotiable |  | ||||||||||||
|  |  LNBP12SP-TR |  STMicroelectronics |  Linear Regulators - Standard LNBP voltage reg |  Data Sheet |  
 |  | ||||||||||||
 (China (Mainland))
 (China (Mainland)) 
                         
                        
 
                                    




